电脑键盘是电脑里的主要输入设备。键盘主要分为上壳、下壳和按键三部分。按键的做工影响键盘的质量。做工好坏从外观上就可以分辨,键盘的表面、边角等加工是否精细,是否合理。劣质键盘外表粗糙,并且按键弹性不好,经常是某个键按下去就起不来,影响使用。质量好的键盘,按键上的字符都是激光雕刻的,字体不易脱落和磨损,劣质的键盘,其按键的字符都是丝印的,很容易就磨损看不见字体。本文介绍电脑键盘按键注射模具设计要点。
图1
电脑键盘按键材料为 ABS,缩水率为 1.005,塑件尺寸较小,形状简单,里面有两个用来组装的倒扣,由于空间位置较小,此倒扣无法采用滑块抽芯或斜顶出模。倒扣出模问题就是模具设计的难点。
图2
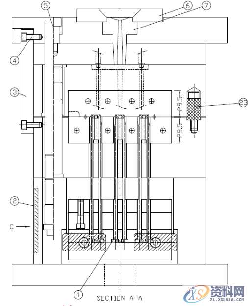
模具设计图见图 8,采用二次顶出的方式解决了塑件脱模的问题。由于空间位置较小,两处倒扣位置分别设计了一个弹性直顶,两个弹性直顶组装在底层顶针板上,塑件四角的圆顶针设计在上层顶针板上。开模后,注塑机顶棍顶动下层顶针板,弹性直顶和圆顶针共同将按键顶出脱离后模仁,为倒扣位置腾出变形空间。继续顶出,按键的力度和操作舒适感是按键的一个很关键参数。
而按键中心的柱位的高度是影响按键力度的很重要因素。为此要求按键中心的镶针,其胶位高度公差不能超出±0.02.模具设计采用了 21 腔多腔排位,细水口进胶,转侧浇口从塑件边缘进胶。流道组成一个封闭型框架,便于后续喷油和激光雕刻。全部工序完成后,再用手动冲床冲下流道和浇口。
图3
图4
记得关注进老师,进主页可以查看更多干货!
图5
图6
图7
图8
东莞潇洒职业培训学校目前开设课程有:学历提升、积分入户、数控编程培训、塑胶模具设计培训,压铸模具设计培训、冲压模具设计培训,精雕、ZBrush圆雕培训、Solidworks产品设计培训、pro/E产品设计培训、AutoformR7工艺分析培训,非标自动化设计、PLC编程、CNC电脑锣操机、平面设计等培训,潇洒职业培训学校线下、线上等网络学习方式,随到随学,上班学习两不误,欢迎免费试学!
联系电话:13018636633(微信同号) QQ:1740467385
学习地址:东莞市横沥镇
1;所有标注为智造资料网zl.fbzzw.cn的内容均为本站所有,版权均属本站所有,若您需要引用、转载,必须注明来源及原文链接即可,如涉及大面积转载,请来信告知,获取《授权协议》。
2;本网站图片,文字之类版权申明,因为网站可以由注册用户自行上传图片或文字,本网站无法鉴别所上传图片或文字的知识版权,如果侵犯,请及时通知我们,本网站将在第一时间及时删除,相关侵权责任均由相应上传用户自行承担。
[complaint:内容投诉]
智造资料网打造智能制造3D图纸下载,在线视频,软件下载,在线问答综合平台 » 塑胶模具设计之电脑键盘按键设计要点

