装配图中配合代号及极限偏差注法(GB/T4458.4—1984)
标注对象 | 说 明 及 图 例 | |
标
注
配
合
代
号 | 在装配图中标注线性尺寸的配合代号时,必须在基本尺寸的右边用分数的形式注出,分子为孔的公差代号,分母为轴的公差代号(图a),必要时也允许按图b的形式标注
| |
标
注
极
限
偏
差 | 在装配图中标注相配零件的极限偏差时,孔的基本尺寸及极限偏差写在尺寸线上方,轴的基本尺寸和极限偏差注写在尺寸线的下方(图c)必要时也允许按图d的形式标注
| |
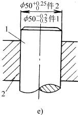
特
殊
情
况
标
注 | 当基本尺寸相同的多个轴(孔)与同一个孔(轴)相配合而又必须在图外标注其配合时,为了明确各自的配合对象,可在公差带代号或极限偏差之后加注装配件的序号(图e)
| 标注标准件、外购件与零件(轴或孔)的配合代号时,可以仅标注相配零件的公差代号(图f)
|
免责声明:
1;所有标注为智造资料网zl.fbzzw.cn的内容均为本站所有,版权均属本站所有,若您需要引用、转载,必须注明来源及原文链接即可,如涉及大面积转载,请来信告知,获取《授权协议》。
2;本网站图片,文字之类版权申明,因为网站可以由注册用户自行上传图片或文字,本网站无法鉴别所上传图片或文字的知识版权,如果侵犯,请及时通知我们,本网站将在第一时间及时删除,相关侵权责任均由相应上传用户自行承担。
[complaint:内容投诉]
智造资料网打造智能制造3D图纸下载,在线视频,软件下载,在线问答综合平台 » 装配图中配合代号及极限偏差注法(GB/T4458.4—1984)(图文教程) ...
1;所有标注为智造资料网zl.fbzzw.cn的内容均为本站所有,版权均属本站所有,若您需要引用、转载,必须注明来源及原文链接即可,如涉及大面积转载,请来信告知,获取《授权协议》。
2;本网站图片,文字之类版权申明,因为网站可以由注册用户自行上传图片或文字,本网站无法鉴别所上传图片或文字的知识版权,如果侵犯,请及时通知我们,本网站将在第一时间及时删除,相关侵权责任均由相应上传用户自行承担。
[complaint:内容投诉]
智造资料网打造智能制造3D图纸下载,在线视频,软件下载,在线问答综合平台 » 装配图中配合代号及极限偏差注法(GB/T4458.4—1984)(图文教程) ...





