在机械设计中,孔是我们最常见的设计对象之一,准确、快速的绘制机械的孔对于我们提高机械设计的质量和效率有着重要作用。浩辰CAD机械2011是国内使用最普遍的CAD机械软件之一,下面我们来通过具体教程看看浩辰CAD机械2011中孔工具功能的应用吧。
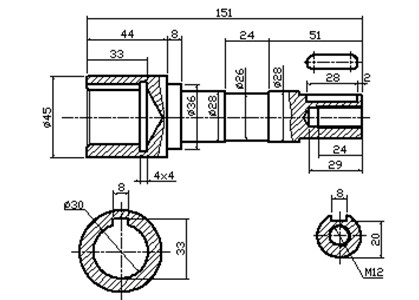
下图是一张机械CAD设计图,我们在此图中可以看到有多种类型的孔,而利用浩辰CAD机械2011构造工具中的孔工具,我们可以快速选择绘制通孔、盲孔或螺纹孔等不同类型的孔(如图1)。

图1
点击软件的【孔】工具,调出右图所示对话框,在【普通孔】中选择【盲孔】,并把下面的【螺纹孔】选项勾选上,孔的类型选择【普通直孔】(如图2)。

图2
把这些选项设置好之后,我们需要按照预览框中的提示输入相应的参数,然后点击【画剖面】,根据命令行提示分别选择轴的中心线与端面,这样螺纹孔就绘制出来了(如图3)。

图3
绘制完成之后,我们还需要进行倒角。要使用此功能,可以选择【国际倒角】中的【孔倒角】,在本篇CAD教程中,我们选择的倒角距离分别【1.5】、【1.5】(如图4)。

图4
接着,我们可以进行单孔的绘制,绘制单孔时,我们首先需要选择孔的类型(圆孔、双圆孔、螺纹孔),然后输入螺纹孔直径【12】,最后进行基准线与基准圆心的设定,这样就完成了孔的绘制(如图5)

图5
免责声明:
1;所有标注为智造资料网zl.fbzzw.cn的内容均为本站所有,版权均属本站所有,若您需要引用、转载,必须注明来源及原文链接即可,如涉及大面积转载,请来信告知,获取《授权协议》。
2;本网站图片,文字之类版权申明,因为网站可以由注册用户自行上传图片或文字,本网站无法鉴别所上传图片或文字的知识版权,如果侵犯,请及时通知我们,本网站将在第一时间及时删除,相关侵权责任均由相应上传用户自行承担。
[complaint:内容投诉]
智造资料网打造智能制造3D图纸下载,在线视频,软件下载,在线问答综合平台 » 浩辰CAD2011机械_(16)孔工具功能应用(图文教程)
1;所有标注为智造资料网zl.fbzzw.cn的内容均为本站所有,版权均属本站所有,若您需要引用、转载,必须注明来源及原文链接即可,如涉及大面积转载,请来信告知,获取《授权协议》。
2;本网站图片,文字之类版权申明,因为网站可以由注册用户自行上传图片或文字,本网站无法鉴别所上传图片或文字的知识版权,如果侵犯,请及时通知我们,本网站将在第一时间及时删除,相关侵权责任均由相应上传用户自行承担。
[complaint:内容投诉]
智造资料网打造智能制造3D图纸下载,在线视频,软件下载,在线问答综合平台 » 浩辰CAD2011机械_(16)孔工具功能应用(图文教程)

